Cart
HOME
NEWS
MOBILE
Mobile News
mobile reviews
Mobile Finder
Mobile Recommender
Mobile Compare
AI Mobile Phones
LAPTOPS PC
Laptops/PC news
Laptops/PC reviews
Laptop Finder
Laptop Recommender
Laptop Comparison
GAMING
Gaming news
Gaming Reviews
GADGETS
Mobile Finder
Laptop Finder
Tablet Finder
iPhone 17
iPhone 17 Pro
iPhone 17 Pro Max
iPhone 17 Air
HOME APPLIANCES
Home Appliances
Home Appliances Reviews
Televisions
Washing Machines
WEARABLES
Wearables News
Wearables Reviews
Smart Watches
Fitness Bands
HOW TO
COMPARE
Mobile Comparison
Laptop Comparison
Tablet Comparison
APPLE EVENT
MORE
Samsung Event
PHOTOS
WEB STORIES
Videos
For You
Home Appliances
TV
brand stories
Mobile Recommender
Laptop Recommender
Tablet Recommender
Latest Tech News
HT Tech Tags
Apple
Apple
Samsung Galaxy S9 Plus pips Apple iPhone X to become the best-selling model
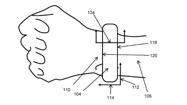
Apple patents blood pressure monitoring ‘cuff’
Next Apple Watch may come with solid side touch-sensitive buttons
Apple could launch an affordable iPhone X this year: KGI Securities
Apple bans cryptocurrency mining on iPhones, iPads
Apple to stop developers from using data on users’ friends
FIFA World Cup 2018: Here’s how you can follow updates through Siri
Siri to handle your declined calls with more polite responses
Apple Transparency Report: India made 27 device information requests between July-December 2017
WWDC 2018: Apple expected to launch iPhone SE 2, iOS 12, new MacBook
390
391
392
393
394
Top Gadgets
Mobiles
Tablets
Laptops
Smart Watches
Fitness Bands
Popular
Latest
Upcoming
Google Pixel 9X
6.2 inch Display Size, OLED, 50.0MP Rear Camera
₹ 59,999
Check Details
Apple iPhone 16
RAM123, 128 GB,256 GB, 512 GB Storage
Discounted price:
₹73,400
Original price:
₹79,900
Buy Now
Samsung Galaxy A55
8 GB RAM, 128 GB Storage, 6.6 inches Display Size
Discounted price:
₹42,999
Original price:
₹42,999
Buy Now
Apple iPhone 17
Black, 8GB RAM, 256GB/512GB Storage
₹ 82,900
Check Details
Popular Mobile Phones
POCO X8 Pro 5G
8GB/12GB RAM, 256 GB Storage, 6.59 inch Display Size
Discounted price:
₹32,999
Original price:
₹43,999
Buy Now
iQOO Z11x 5G
Prismatic Green, 6GB RAM, 128GB Storage
Discounted price:
₹18,439
Original price:
₹28,999
Buy Now
iQOO 15R
8GB/12GB RAM, 6.59 inch Display Size, AMOLED (1.5K / LTPS)
Discounted price:
₹44,998
Original price:
₹53,999
Buy Now
Vivo V70 Elite
8GB RAM, 256GB Storage, 6.78-inch Display Size
Discounted price:
₹51,999
Original price:
₹54,999
Buy Now
Latest Mobile Phones
Vivo X300 FE
Black, 12GB/16GB RAM, 256GB/512GB Storage
₹ 54,999
Check Details
iQOO Neo 11
12GB / 16GB RAM, 256GB/512GB/1TB Storage, 6.82 inch Display Size
₹ 32,500
Check Details
Nothing Phone 4
8 GB RAM, 256 GB Storage, 6.75 inches Display Size
₹ 44,990
Check Details
Samsung Galaxy Z Flip 8
12GB RAM, 256GB/512GB Storage, 4.2/7-inch Display Size
₹ 119,999
Check Details
Upcoming Mobile Phones
Xiaomi Pad 6
Mist Blue, 6 GB RAM, 128 GB Storage
₹ 26,498
Check Details
Realme Pad 2
Imagination Grey, 6 GB RAM, 128 GB Storage
Discounted price:
₹19,999
Original price:
₹32,999
Buy Now
Samsung Galaxy Tab S9 5G 256GB
Graphite, 8 GB RAM, 256 GB Storage
Discounted price:
₹83,999
Original price:
₹93,999
Buy Now
Apple iPad Mini 2024 WiFi 256GB
Blue, 8 GB RAM, 256 GB Storage
₹59,899
Buy Now
Popular Tablets
Samsung Galaxy Tab S10 FE plus
8GB RAM
₹ 55,999
Check Details
Apple iPad Mini 2024 WiFi plus Cellular 256GB
Blue, 8 GB RAM, 256 GB Storage
₹ 73,900
Check Details
Apple iPad Mini 2024
Blue, 8 GB RAM, 128 GB Storage
₹49,900
Buy Now
Apple iPad Mini 2024 WiFi 256GB
Blue, 8 GB RAM, 256 GB Storage
₹59,899
Buy Now
Latest Tablets
Honor Pad V9
Luyan Purple , 8 GB RAM, 128 GB Storage
₹ 0
Check Details
Honor Pad GT Pro
Black, 8 GB RAM, 128 GB Storage
₹ 0
Check Details
Honor MagicPad 2
Moon White , 8 GB RAM, 256 GB Storage
₹ 0
Check Details
Huawei MatePad Pro 12 2 2024
Black, 12 GB RAM, 256 GB Storage
₹ 0
Check Details
Upcoming Tablets
HP OmniBook X
Meteor Silver, 16GB RAM, Qualcomm Snapdragon X Elite X1E-78-100 Processor
Discounted price:
₹84,490
Original price:
₹104,048
Buy Now
Lenovo LOQ 15ARP9 83JC00EFIN Laptop
Grey, 24GB RAM, 15.6 Inches Display Size
Discounted price:
₹85,490
Original price:
₹110,890
Buy Now
Acer Travelmate TMP215 53
16GB RAM, 15.6-inch Display Size, Full HD
Discounted price:
₹45,290
Original price:
₹133,295
Buy Now
Acer TL 14
Silver, 16GB RAM, 14-inch Display Size
Discounted price:
₹49,990
Original price:
₹89,999
Buy Now
Popular Laptops
Dell Pro Essential 15
Carbon Black, 16 GB RAM, 15.6 inch Display Size
₹ 31,999
Check Details
Dell Pro Essential 14
32 GB RAM, 14 inch Display Size, FHD+
₹ 31,999
Check Details
HP 14 2025
16GB RAM, 14 inches Display Size, HD
Discounted price:
₹34,400
Original price:
₹55,000
Buy Now
Lenovo V14 83A0A0PBIN
8GB RAM, 14-inch Display Size, FHD
Discounted price:
₹35,990
Original price:
₹68,000
Buy Now
Latest Laptops
Lenovo Yoga Pro 7i Gen 10 Aura
Luna Grey, 32 GB RAM, 14.5-inch Display Size
₹ 106,600
Check Details
ASUS TUF Gaming A18 2025
32GB DDR5-5600MHz SO-DIMM x 2 RAM, 18-inch Display Size, AMD Ryzen 7 260 Processor or AMD Ryzen AI 9 HX 370 Processor Processor
₹ 199,990
Check Details
MSI Titan 18 HX AI A2XWIG
64GB (32GB*2) DDR5-6400MHz RAM, 18-inch UHD+ Display Size, MiniLED
₹ 499,000
Check Details
Honor MagicBook Pro 16
16GB RAM, 16.00-inch Display Size, IPS
₹ 96,999
Check Details
Upcoming Laptops
Boult Audio Drift 2
1.84 Inch | Water proof | Receive call | Fitness Tracking
₹ 1,499
Check Details
Noise ColorFit Quad Call
1.91 Inch | Water proof | Receive call | Fitness Tracking
₹ 1,499
Check Details
Fire Boltt Encore
1.84 Inch | Water proof | Receive call | Fitness Tracking
₹ 1,799
Check Details
Boat Lunar ORB
AMOLED Display | 1.43 Inch | Water proof | Receive call | Fitness Tracking
₹ 2,199
Check Details
Popular Smart Watches
Noise ColorFit Quad Call
1.91 Inch | Water proof | Receive call | Fitness Tracking
₹ 1,499
Check Details
Samsung Galaxy Watch 5
AMOLED Display | 1.2 Inch | Water proof | Receive call | Fitness Tracking
₹ 17,999
Check Details
Apple Watch Series 8
LTPO OLED Display | Water proof | Receive call | Fitness Tracking
₹ 29,999
Check Details
Apple Watch SE
LTPO OLED Display | 1.57 Inch Inch | Water proof | Receive call | Fitness Tracking
₹ 29,900
Check Details
Latest Smart Watches
Boat Watch Mystiq
1.57 Inch Inch | Water proof | Fitness Tracking
₹ 2,999
Check Details
Garmin Forerunner 225
1.0 Inch Inch | Water proof | Fitness Tracking
₹ 0
Check Details
Fossil Barstow Hybrid
Water proof | Fitness Tracking
₹ 8,995
Check Details
Fossil Sadie Hybrid
Water proof | Fitness Tracking
₹ 8,995
Check Details
Upcoming Smart Watches
Honor Band 6
AMOLED Display | Water Resistant | Steps | Heart Rate | Active Minutes
₹ 4,490
Check Details
Amazfit Band 7
Water Resistant | Steps | Heart Rate | Hours Slept | Active Minutes
₹ 3,499
Check Details
Fitbit Inspire 3
AMOLED Display | Steps | Heart Rate | Hours Slept | Active Minutes
₹ 8,999
Check Details
Fitbit Charge 4
Water Resistant | Steps | Heart Rate | Hours Slept | Active Minutes
₹ 9,359
Check Details
Popular Fitness Bands
Amazfit Cor
Water Resistant | Steps | Heart Rate | Hours Slept
₹ 3,799
Check Details
GoQii Beat
OLED Display | Water Resistant | Steps | Heart Rate | Hours Slept
₹ 2,459
Check Details
Timex TWTXB101T
OLED Display | Water Resistant | Steps | Heart Rate
₹ 4,495
Check Details
Huawei Band 7
AMOLED Display | Water Resistant | Steps | Heart Rate | Hours Slept | Active Minutes
₹ 6,999
Check Details
Latest Fitness Bands
Fitbit Ace 3
PMOLED Display | Water Resistant | Steps | Active Minutes
₹ 5,810
Check Details
Sonata SF Rush SWD77087PP01
OLED Display | Water Resistant | Steps
₹ 899
Check Details
Playgo Playfit 53
TFT LCD Display | Water Resistant | Steps | Heart Rate | Hours Slept
₹ 3,499
Check Details
Playgo Playfit 21
TFT LCD Display | Water Resistant | Steps | Heart Rate
₹ 2,049
Check Details
Upcoming Fitness Bands
Gadgets Search
Mobiles
Tablets
Laptops
Smart Watches
Fitness Bands
Brands
Budget
Features
Apple
Samsung
Xiaomi
Oppo
OnePlus
Google
Realme
Moto
Vivo
Nothing
Infinix
Tecno
Iqoo
Cmf
View All
Best Mobiles Under ₹10000
Best Mobiles Under ₹15000
Best Mobiles Under ₹20000
Best Mobiles Under ₹25000
Best Mobiles Under ₹30000
Best Mobiles Under ₹40000
Best Mobiles Under ₹50000
Best Mobiles Under ₹60000
Best Mobiles Under ₹70000
Best Mobiles Under ₹80000
Best Mobiles Under ₹100000
Check all Budget Mobile Phones
Android Phones
5G Mobile Phones
4G Mobile Phones
8GB RAM Mobiles
6GB RAM Mobiles
4GB RAM Mobiles
Dual Sim Mobile Phones
Check all Features of Mobile Phones
Realme
Samsung
Apple
Lenovo
Xiaomi
Honor
OnePlus
Google
View All
Best Tablets Under ₹5000
Best Tablets Under ₹10000
Best Tablets Under ₹15000
Best Tablets Under ₹20000
Best Tablets Under ₹25000
Best Tablets Under ₹30000
Rs 30000 Above
Check all Budget Tablets
4G Tablets
5G Tablets
Upcoming Tablets
Check all Features of Tablets
Samsung
Apple
Microsoft
Lenovo
Dell
Asus
Acer
Msi
Xiaomi
Honor
View All
Best Laptops Under ₹20000
Best Laptops Under ₹30000
Best Laptops Under ₹40000
Best Laptops Under ₹50000
Best Laptops Under ₹60000
Best Laptops Under ₹70000
Rs 70000 Above
Check all Budget Laptops
i3 Laptops
i5 Laptops
i7 Laptops
i9 Laptops
Upcoming Laptops
Touch Screen Laptops
Check all Features of Laptops
Apple
Samsung
OnePlus
Xiaomi
Huawei
Fossil
Amazfit
Realme
Fitbit
Garmin
Boat
Fire Boltt
Fastrack
Beatxp
Noise
Pebble
Oppo
Sony
LG
View All
Under 2,000
Under 5,000
Under 10,000
Under 15,000
Under 20,000
Above 20,000
Check all Budget Smart Watches
Upcoming Smart Watches
Check all Features of Smart Watches
Fitbit
Realme
Samsung
Huawei
Garmin
Xiaomi
Honor
View All
Under 1,000
Under 2,000
Under 5,000
Under 10,000
Under 15,000
Above 15,000
Check all Budget Fitness Bands
Upcoming Fitness Bands
Check all Features of Fitness Bands
Gadgets Comparisons
Mobiles
Tablets
Laptops
Apple iPhone 17
(8 GB RAM,256 GB Storage)
₹82,900
Samsung Galaxy S25 edge
12 GB RAM, 256 GB Storage, Titanium Body
₹89,999
Apple iPhone 17
vs
Samsung Galaxy S25 edge
Apple iPhone Air
(8 GB RAM,128 GB Storage)
₹119,900
Samsung Galaxy S25 Ultra
Titanium Silverblue, 12 GB RAM, 256 GB / 512 GB / 1 TB Storage
₹129,999
Apple iPhone Air
vs
Samsung Galaxy S25 Ultra
Samsung Galaxy M17 5G
₹13,999
Vivo T4X
6 GB RAM, 128 GB Storage, 6.72 inches Display Size
₹14,737
Samsung Galaxy M17 5G
vs
Vivo T4X
Samsung Galaxy F17 5G
₹18,999
OPPO A3 Pro
Moonlight Purple, 8 GB RAM, 128 GB Storage
₹16,999
Samsung Galaxy F17 5G
vs
OPPO A3 Pro
POCO X8 Pro 5G
₹32,999
Vivo V30
Peacock Green, 8 GB RAM, 128 GB Storage
₹28,990
POCO X8 Pro 5G
vs
Vivo V30
Mobile Comparisons
Apple MacBook Air M4
₹115,990
HP OmniBook X
Meteor Silver, 16GB RAM, Qualcomm Snapdragon X Elite X1E-78-100 Processor
₹114,490
Apple MacBook Air M4
vs
HP OmniBook X
Apple MacBook Air M4 15 inch
₹120,990
HP OmniBook X
Meteor Silver, 16GB RAM, Qualcomm Snapdragon X Elite X1E-78-100 Processor
₹114,490
Apple MacBook Air M4 15 inch
vs
HP OmniBook X
Samsung Galaxy Book5 360
₹107,199
HP OmniBook X
Meteor Silver, 16GB RAM, Qualcomm Snapdragon X Elite X1E-78-100 Processor
₹114,490
Samsung Galaxy Book5 360
vs
HP OmniBook X
Samsung Galaxy Book5 Pro 360
₹163,990
MSI Prestige 14 AI plus Evo
₹131,990
Samsung Galaxy Book5 Pro 360
vs
MSI Prestige 14 AI plus Evo
Laptops Comparisons
Apple iPad Mini 2024 WiFi 256GB
Blue, 8 GB RAM, 256 GB Storage
₹58,900
Lenovo Tab P12 Pro
(8 GB RAM,256 GB Storage) - Storm Grey
₹54,990
Apple iPad Mini 2024 WiFi 256GB
vs
Lenovo Tab P12 Pro
Apple iPad Mini 2024
Blue, 8 GB RAM, 128 GB Storage
₹48,900
Lenovo Tab P12 Pro
(8 GB RAM,256 GB Storage) - Storm Grey
₹54,990
Apple iPad Mini 2024
vs
Lenovo Tab P12 Pro
Samsung Galaxy Tab S10 FE plus
₹55,999
Apple iPad Mini 2024 WiFi 256GB
Blue, 8 GB RAM, 256 GB Storage
₹58,900
Samsung Galaxy Tab S10 FE plus
vs
Apple iPad Mini 2024 WiFi 256GB
Samsung Galaxy Tab S10 Ultra
Moonstone Gray, 12 GB RAM, 256 GB Storage
₹108,999
Apple iPad Air 13 2024 Cellular 5G 512GB
Blue, 8 GB RAM, 512 GB Storage
₹124,900
Samsung Galaxy Tab S10 Ultra
vs
Apple iPad Air 13 2024 Cellular 5G 512GB
Tablets Comparisons